← TOS 05 / 1990

Platinen selbstgemacht mit Megapaint: Mal ' Dir eine

Anwender

Sind Ihnen auch Klebesymbole beim Platinenentwurf zu umständlich und ätzfeste Stifte zu ungenau? Dann zeichnen Sie doch Ihre Layouts mit einem Malprogramm. Wie das funktioniert, zeige ich Ihnen anhand einer Schaltung, die den ST stufenlos abbremst - ideal zur Fehlersuche in Programmen und bei Highscore -Jagden.

Als Hobby-Elektroniker kennen Sie das: da haben Sie irgendwo eine interessante Schaltung entdeckt oder selbst erdacht, die sich nur mit einer Platine kompakt und funktionssicher aufbauen läßt. Ich spitzte dann erst einmal den Bleistift und tüftelte auf kariertem Papier den Lauf der Leiterbahnen aus. Etliche Blätter purzelten in zerknülltem Zustand in meinem Zimmer umher, bevor die Positionen der Bauteile und die Wege der Kupferbahnen feststanden.

Nun nahm ich einen Faserstift mit ätzfester Tinte zur Hand und malte mit diesem die auf dem Papier skizzierten Leiterbahnen auf den Kupferbelag der Platine. Lästig war dabei das ständige Maßnehmen an den elektronischen Bauteilen, damit diese später auch genau in ihre vorgesehenen Plätze paßten - soweit man bei diesen Freihand-Kunstwerken überhaupt von Genauigkeit sprechen kann. Klebe- und Abreibe-Symbole erlauben zwar ein präziseres Arbeiten, doch erschien mir diese Technik als zu umständlich und zeitraubend.

Das anschließende Ätzbad ließ alle blanken Kupferflächen verschwinden, übrig blieben die von der Tinte geschützten Bahnen. Nach dem Entfernen des Tintenbe-lags mit Alkohol und dem Bohren der Löcher für die Bauteile war die Platine Marke Eigenbau fertig zum Bestücken. Ein erhebendes Gefühl. So lange zumindest, bis ich ein oder zwei kleine Fehlerchen im Platinenlayout entdeckte und das kunstvolle Werk mit Drahtbrücken und durchtrennten Leiterbahnen verunstalten mußte. Abenteuerliche fliegende Verdrahtungen waren an der Tagesordnung, wenn ich die Schaltung um ein paar Funktionen erweitern wollte.

Doch das alles kann einen mit allen Flußmitteln gewaschenen Hobby Elektroniker noch nicht erschüttern. Sehr wohl vermochte dies jedoch ein Projekt, das ich kürzlich in Angriff nahm: der Selbstbau eines 16-Kanal-Mischpults. 16 identische Kanäle mit Verstärker, Klangregelung, Aussteuerungsanzeige und dergleichen mehr - das hieß ein ebenso kompliziertes wie kompaktes Layout zu entwerfen und damit 16 Platinen zu bemalen. Jede einzelne. Alle gleich...

Wenn es darum geht, etwas wieder und wieder in gleicher Qualität zu produzieren, dann greift man doch gerne zum Computer. Also versuchte ich, den ST als unverdrossenen Plati nen layout-Produzenten einzuspannen was nach unzähligen Versuchen mit diversen Malprogrammen, Matrix- und Laserdruckern, Folien- und Papierarten auch gelang: Ich entwerfe das Platinenlayout mit dem Monochrom -Malprogramm »Megapaint II«, drucke es mit einem Laserdrucker auf Klarsichtfolie und belichte damit eine fotopositiv beschichtete Platine.

Das klingt komplizierter und teurer, als es tatsächlich ist. Ich zeige Ihnen an einer Beispielschaltung, wie nach diesem Verfahren aus einem Schaltbild Schritt für Schritt ein funktionstüchtiges Gerät entsteht.

Beginnen wir mit dem Schaltplan, auch Schaltbild oder Stromlaufplan genannt. Daraus geht hervor, welche Bauteile die Schaltung enthält, welche Bezeichnungen oder Werte sie besitzen und wie sie untereinander oder mit der Außenwelt verbunden sind. Wenn Sie einen Schaltplan in einer Zeitschrift oder einem Fachbuch nachbauen wollen, dann besorgen Sie sich am besten schon vor dem Platinenentwurf alle Bauteile, damit Sie nicht später das ganze Layout ändern müssen, weil beispielsweise ein Kondensator größer als erwartet ausfällt und Sie zuwenig Platz für ihn reserviert hatten. Haben Sie eine eigene Schaltung entwickelt, empfehle ich, auch davon einen Schaltplan zu zeichnen. Das geht am schnellsten mit Bleistift und Papier, doch mit Maus und Malprogramm sieht es professioneller aus, ist leichter zu ändern und zu ergänzen. In jedem Fall ist das Schaltbild eine enorme Hilfe beim späteren Layout der Platine. Einen selbstgezeichneten Stromlaufplan zeigt Bild 1. »Atari-ABS« habe ich die kleine Schaltung getauft. Sie erlaubt es, den Computer durch Drehen eines Reglers stufenlos von Vollgas bis zum Stillstand abzubremsen. Das funktioniert wie folgt:

Die Elektronik legt die »Halt«-Leitung des 68000-Prozessors rund 20000mal in der Sekunde auf Massepotential, was ein abwechselndes Starten und Stoppen des Prozessors und damit eine Verlangsamung der Ablaufgeschwindigkeit aller Programme zur Folge hat. Wie lange der 68000 bei jedem Impuls gestoppt wird, bestimmt die Stellung des Drehreglers. In Bild 3 zeigt ein Oszilloskop das Signal am »Halt«-Pin des Prozessors, wenn der ST auf rund ein Viertel seiner Maximalgeschwindigkeit gedrosselt ist.

ABS zum Nachrüsten

Am linken oder rechten Anschlag des Drehreglers stoppt der ST vollkommen beziehungsweise läuft ungebremst mit 100 Prozent seiner Normalgeschwindigkeit. Somit ist kein Schalter erforderlich, um das Atari-ABS zu umgehen oder den ST, etwa für Bildschirmfotos, absolut anzuhalten. Zur optischen Kontrolle der Reglerstellung leuchtet eine Doppel-Leuchtdiode (DuoLED) entsprechend entweder grün (garantiert Vollgas), gelb (gebremst) oder rot (Stillstand des ST). Beim Einschalten des Computers und bei einem Reset muß der ST mit voller Geschwindigkeit (LED grün) laufen, ebenso bei Disketten- und Festplattenzugriffen zur Vermeidung von Schreib-/Lesefehlern. Anhand der ebenfalls in Bild 1 enthaltenen Stückliste besorgte ich mir für ein paar Mark die erforderlichen Bauteile, soweit sie sich nicht in meiner Bastelkiste fanden. Schaltplan und Bauteile liegen vor mir, die ST-Anlage ist eingeschaltet und Megapaint II geladen. Da sich alle folgenden Erklärungen auf dieses Programm beziehen, sollten Besitzer anderer Zeichensoftware versuchen, entsprechende Funktionen aufzurufen.

center Bild 1. »Atari-ABS« -der Schaltplan der Computer-Stotterbremse

Stückliste IC1............40106 oder 4584 D1-D5..........IN 4148 C1,C2..........1 nF C3,C4 ...... 100 nF R1..............1,5 kOhm R2,R3..........100 kOhm R4,R5.......220 Ohm P1..............100 kOhm lin. Potentiometer LED...........DUO-LED mit gem. Kathode

Vor Ihrem ersten Platinenentwurf müssen Sie die Megapaint-Standardeinstellungen verändern. Im System-Menü stellen Sie die Skaleneinheiten auf Zoll, die Skalen-maßstäbe auf 300 x 300 dpi sowie das X- und Y Raster auf 0,05 Zoll. Bei »Einstellung ändern« schalten Sie auf 300 dpi Auflösung, DIN A4 Normgröße, Hochformat und zwei Bildebenen. Ist jetzt bei der Puffergröße »0 Prozent« zu lesen, reicht der Speicherplatz Ihres ST leider nicht aus. Versuchen Sie in diesem Fall, ob ein Verringern der Bildgröße, zum Beispiel auf DIN A5, Abhilfe schafft. Führt auch das zu keinem Erfolg oder ist dann das Zeichenfeld zu klein für Ihr Platinenprojekt, müssen Sie die Bilderanzahl von »2« auf »1« reduzieren. Dann ist jedoch der Entwurf des Layouts und das Anfertigen eines Bestückungsplans schwieriger.

Ist genug Speicher für zwei Bilder vorhanden, aktivieren Sie im Spezial-Menü unter »Bild einblenden« sowohl »Bild 1« als auch »Bild 2« und legen die Intensität mit 25 oder 50 Prozent fest. Das waren die wichtigsten Grundeinstellungen, die nach dem Aufruf der Funktion »Einstellung sichern« (zu finden im System-Menü) beim nächsten Start von Megapaint automatisch wieder zur Verfügung stehen.

center Bild 2. So zeigt sich die Platine auf dem Megapaint— Arbeitsfeld

Stürzen wir uns nun endlich ins Layout-Vergnügen. Ich aktiviere zunächst die Funktion »Rechteck« und stelle im Werkzeug-Menü die Linien breite auf fünf Punkte. Dann schalte ich auf Bildebene 2 und zeichne alle Bauteile in Form von Rechtecken ein. Damit stelle ich sicher, daß sich später keine Bauteile überlappen. Die Größe der Rechtecke richtet sich nach der Fläche, die das jeweilige Bauteil auf der Platine in Anspruch nimmt. Bei den Dioden und Kondensatoren unserer Beispielschaltung sind das 0,4 x 0,1 Zoll, die Widerstände belegen 0,5 x 0,1 Zoll und das IC 0,7 x 0,4 Zoll.

Am Anfang war das Schaltbild

Jetzt wechsle ich zu Bildebene 1, um dort die Leiterbahnen einzuzeichnen. Im Gegensatz zur Faserstift-Methode, bei der ich auf die Kupferseite male, blicke ich nun allerdings auf die Bestückungsseite der Platine. Ich muß mir also nicht mehr alle Bauteile von unten vorstellen, was vor allem bei IC-Pin-nummern des öfteren für Verwirrung sorgte. Beim Belichten legen Sie das Layout einfach um gedreht auf die Platine, und schon stimmt wieder alles.

center Bild 3. Das Bremssignal auf einem Oszilloskop dargestellt

Da Megapaint die in der Bildebene 2 gezeichneten Bauteile grau gerastert einblendet (siehe Bild 2), ist das exakte Positionieren der Lötaugen ein Leichtes. Ein ganz passables Lötauge ergibt übrigens der 23 x 23 Punkte große, runde Pinsel. Für die Leiterbahnen eignen sich am besten Linien mit ungeraden Punktbreiten (5, 7 oder 9 Punkte), da diese hervorragend zu den Lötaugen passen. Lassen sich einige Verbindungen nicht herstellen, wechsle ich zu Bildebene 2 (Bildebene 1 ist nun grau hinterlegt), verschiebe die betreffenden Bauteile und versuche es nochmal. Sind schließlich alle Bauelemente plaziert und die Leiterbahnen verlegt, markiere ich die Bohrlöcher, indem ich mit dem 7x7 Punkte großen Pinsel im Löschmodus auf jedes Lötauge klicke. An eine freie Stelle im Layout einen Text einzusetzen, ist auch kein Problem, doch muß ich den Textbereich mit der entsprechenden Blockfunktion spiegeln, damit die Schrift später auf der Platine seitenrichtig zu lesen ist (Bild 4).

center Bild 4. Das seitenrichtige Platinen-layout in Originalgröße

Das Platinenlayout ist damit auch schon vollendet und wird auf Diskette oder Festplatte verewigt. Wenn ich in Bildebene 2 die Bezeichnungen der Bauteile ergänze, erhalte ich als Zugabe einen präzisen Bestückungsplan (in Bild 5 zu sehen), den ich ebenfalls speichere.

Damit ist der kreative Teil beendet, kommen wir zum Handwerklichen und heizen schon mal den Laserdrucker auf. Besitzen Sie keinen, dann findet sich bestimmt ein laserbewehrter Bekannter oder Ihr Computerhändler, der gegen einen kleinen Material kostenbeitrag die zwei Seiten druckt. Erstklassige Profi-Vorlagen erhalten Sie übrigens, wenn Sie das Platinenlayout im IMG-Format speichern, als Rasterbild in ein Calamus-Dokument importieren (anschließend »Größe für Drucker optimieren« aufrufen!) und dieses von einem geeigneten Satz/Repro-Studio auf Offset-Film belichten lassen.

center Bild 5. Der Bestückungsplan hier mit dem gerasterten Layout hinterlegt

Der Bestückungsplan fühlt sich auf Papier ganz wohl, doch das Platinenlayout ist auf einer transparenten Unterlage besser aufgehoben. Ich lege dafür eine Fotokopierertaugliche Klarsichtfolie (nur hitzebeständige Folien verwenden, alle anderen schmelzen im Laser!) auf den Papierstapel im Vorratsfach und drucke sodann das Layout. Experimentieren Sie am besten mit mehreren Folien, um eine an den dunklen Stellen möglichst lichtundurchlässige Vorlage zu erhalten. Hervorragende Ergebnisse erziele ich durch Übereinanderlegen zweier Folien, die mit dem gleichen Layout bedruckt sind. Jedoch sind größere Ausdrucke, bedingt durch Ungenauigkeiten beim Papiervorschub des Lasers, nicht immer deckungsgleich.

Manche mögen's nicht so heiß

Auf eine Glasplatte im DIN A4-Format (zum Beispiel von einem Glas-Bilderrahmen) lege ich jetzt die fotopositiv beschichtete Platine, die ich vorher auf die richtige Größe zurechtgesägt habe. Bei gedämpftem Licht ziehe ich die obenliegende, schwarze Schutzfolie ab und lege sogleich das Platinenlayout mit der bedruckten Seite nach unten (also seitenverkehrt) auf die Platine. Eine weitere Glasplatte darübergelegt sorgt dafür, daß die Klarsichtfolie plan auf der beschichteten Seite der Platine aufliegt, da es sonst zu Unschärfen kommt.

In 40 Zentimeter Abstand hängt, genau senkrecht über dem soeben zubereiteten Glas-Folien-Platinen-Hamburger, die Belichtungslampe, die ich erst jetzt einschalten darf. Gute Erfahrungen machte ich mit dem 300 Watt UV Bräunungsstrahler »Osram Ultra-Vita-lux« (bitte die Gebrauchsanleitung lesen und beherzigen!). Mit dieser Lampe belichte ich rund sechs bis acht Minuten, je nach Art der Layout-Vorlage. Faustregel: je transparenter die hellen Stellen, desto kürzer je undurchlässiger die Leiterbahnen, desto länger. Probieren Sie einfach mal unterschiedliche Folien und Zeiten aus. Während dieser Minuten bereite ich in einer flachen Plastikwanne das Entwicklerbad vor. Eine Mischung aus einem Teil »Seno 4006« - Entwickler- Konzentrat und 14 Teilen Wasser hat sich bei mir bestens bewährt. Nach dem Ablauf der Belichtungszeit schalte ich den Strahler wieder aus, befreie sodann die Platine von ihrer Last und lege sie in die Entwicklermischung, welche die Platine vollständig bedecken muß. Die nächsten Minuten bewege ich die Wanne ständig ein wenig; das bewirkt eine gleichmäßige Entwicklung. Sobald sich an den belichteten Stellen die Beschichtung vollständig abgelöst hat und das darunterliegende Kupfer zu sehen ist (wie in Bild 6), fische ich die Platine mit einer Pinzette oder mit Gummihandschuhen aus dem Bad, säubere sie unter fließendem Wasser und trockne sie.

center Bild 6. So sieht die richtig belichtete Platine nach dem Entwickeln aus

War die Vorlage kontrastreich genug und die Belichtungs- und die Entwicklungszeit richtig bemessen, dann zeichnen sich die Leiterbahnen deutlich als dunkelgraue, ununterbrochene Linien auf dem ansonsten blanken Kupfer ab. Anstelle des Entwicklerbades setze ich sodann die Ätzlösung an, deren Temperatur ich während des Ätzvorgangs auf ungefähr 50 Grad Celsius halte (zum Beispiel auf dem Heizkörper). Gute Ergebnisse erzielt »Seno 3207 Feinätzkristall«, ein Pulver, das vor dem Gebrauch in Wasser gelöst wird. Die Platine schwenke ich solange im Ätzbad, bis das Kupfer an den unbedeckten Stellen vollständig verschwunden ist und dort das Platinen-Trägermaterial (ich empfehle Epoxyd-Glasgewebe) zum Vorschein kommt. Dieser Vorgang nimmt, je nach Art, Konzentration und Temperatur der Ätzlösung, bis zu einer halben Stunde Zeit in Anspruch.

Bitte denken Sie daran, daß es sich sowohl bei der Entwicklerflüssigkeit als auch bei dem Ätzbad mit dem darin gelösten Kupfer um extrem giftige und ätzende Chemikalien handelt, die nicht an die Haut, in die Augen oder in Kinderhände geraten dürfen. Sammeln Sie die verbrauchten Lösungen und geben Sie sie zu einer geeigneten Problem-/Giftmüll-Sammelstelle; die Natur dankt es Ihnen.

center Bild 7. Die Platine nach dem Ätzen und Entfernen der Beschichtung

Nach dem erneuten Spülen und Trocknen gilt es noch, die über den Leiterbahnen liegende, graue Schutzschicht zu entfernen. Dazu nehme ich ein in Isopropyl-Alkohol oder Aceton getänktes Papiertaschentuch und wische damit den Überzug ab - fertig ist die Platine (Bild 7). Das Bohren ist dank der deutlich sichtbaren Punkte in den Lötaugen ebenso unproblematisch wie das Bestücken und Einlöten der Bauteile anhand der Stückliste und des Bestückungsplans. In Bild 5 ist übrigens bei den Dioden die Kathode mit einem kleinen Schrägstrich gekennzeichnet.

Ein Platz für Bauteile

Auf unserer Beispielplatine zur ABS-Schaltung finden Sie insgesamt neun quadratische Lötaugen, die Sie nicht bohren müssen. Die mit einem »P« markierten Anschlüsse verbinden Sie über ein dreiadriges Flachbahnkabel mit dem 100 kOhm-Potentiometer, wobei das mittlere Feld zum Schleifer führt und das mit einem Punkt gekennzeichnete Lötauge mit dem Linksanschlag verbunden wird. Ein solches Kabel liegt auch zwischen der Platine und der Leuchtdiode. Der Mittenanschluß (gemeinsame Kathode) der LED führt wiederum zu dem mittleren der drei mit »L« beschrifteten Lötfelder, der kürzeste LED-Anschluß (roter LED-Teil) zu dem mit einem Punkt markierten »L«-Lötauge. Die Länge der Flachbahn kabel richtet sich sowohl beim Potentiometer als auch bei der Duo-LED nach deren Einbauort, den Sie ganz nach Ihrem Geschmack und Computermodell wählen können.

center Bild 8. Das Atari-ABS sitzt huckepack auf dem Prozessor

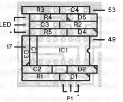
An die »-«, »+« und »H«-Flächen löten Sie rund einen Zentimeter lange, stabile Drahtstücke, so daß die Platine wie auf drei Stelzen steht. Offen Sie nun Ihren ST und stecken Sie die Schaltung huckepack auf den Prozessor, wie in Bild 8 gezeigt. Der vom »H«-Feld kommende Draht muß an Pin 17 des 68000 außen anliegen, »+« an Pin 49 und »-« an Pin 53. Funktioniert und gefällt die Schaltung, dann verlöten Sie die Drähte mit den drei Prozessorpins. Bitte Vorsicht, daß Sie den 68000 dabei nicht überhitzen oder einen Kurzschluß erzeugen.

Ich wünsche viel Spaß mit der Computer-Bremse und viel Erfolg beim Platinen-Malen.

Achtung!

Durch das Öffnen des Computers und den Umbau erlischt jeglicher Garantieanspruch. Halten Sie sich von dem geöffneten Gerät fern, wenn es mit dem Netz verbunden ist. ln dem Computer befinden sich ungeschützte 220 Volt-Anschlüsse, bei deren Berührung Lebensgefahr besteht.

Leider können wir keinerlei Gewährleistung für eventuelle Schaltungsfehler oder durch den Umbau resultierende Schäden übernehmen.

Toni Schwaiger