Stahlblauer Himmel, ein leichter angenehmer Wind, und das Thermometer zeigte bereits um 11.00 Uhr ca. 20°C. ATARI hatte sich einen Bilderbuchsommertag ausgesucht, um am 8.7.1992 im Dorint-Hotel in Frankfurt Niederrad (kaum 15 Autominuten von unserer Redaktion entfernt) erste offizielle Details des neuen Falcon 030 der Fachpresse mitzuteilen.
Bis zu diesem Zeitpunkt war die einzige Information, die ATARI zu diesem Thema preiszugeben bereit war, der lapidare Spruch „no details“, der sich in der Szene aus Presse, Entwicklern und Händlern schon zu einem Slogan entwickelt hatte. Nun sollte es also ans Eingemachte gehen. Gespannt und voller Ungeduld lauschte man den Worten Normen Kowalewskis, ja, man sog die Informationen richtig in sich auf. In der Tat war der Zeitpunkt dieser Pressekonferenz klug gewählt. Dadurch sind wir nun in der Lage unseren Lesern pünktlich zur ATARI-Messe die technischen Daten des Falcon 030 zu präsentieren. Eines kann man vorweg schon sagen: Sollte ATARI den noch unter Vorbehalt angekündigten Preis von ca. 1000,- US-Dollar halten können, steht dem (Home)-Computer-Markt tatsächlich eine Revolution ähnlich der von 1985 bevor, als ATARI den ST vorstellte.
Endlich „details“
Kommen wir jetzt zu den Spezifikationen im einzelnen: der Tabelle 1 können Sie die Leistungsdaten in Kurzform entnehmen. Der Falcon 030 ist (natürlich) mit einem Motorola-68030-Prozessor ausgestattet. Dieser wird mit 16 MHz getaktet, also halb so schnell wie die CPU des TT. Allerdings beträgt auch der Bustakt 16 MHz, so daß mit dieser Geschwindigkeit auf den kompletten Speicher zugegriffen werden kann. Aufwendige Cache-Verfahren, wie sie zur Zeit bei vielen ST-Beschleuniger-Boards (und auch im Mega STE) eingesetzt werden, entfallen beim Falcon 030. Unterstützung erhält die CPU durch einen optionalen, ebenfalls mit 16 MHz getakteten 68882-Coprozessor, für den bereits ein entsprechender (PLCC-)Sockel auf dem Board vorhanden ist. Auf einem internen Erweiterungs-Board lassen sich bis zu 14 Megabyte RAM unterbringen. Auch einen Blitter hat ATARI dem Falcon 030 spendiert. Er ist eine Weiterentwicklung des Mega-ST-Blitters, die nun mit 16 MHz statt 8 MHz läuft. Diese trägt dadurch einen wesentlichen Teil zum Performance-Gewinn in Sachen Grafikausgabe bei. Daß so ein Spezial-Chip auch dringend notwendig ist, merkt man, wenn man sich die Reihe neuer Grafikauflösungen (siehe Tabelle 2) ansieht, die der Falcon 030 nun bietet. Neben den vom ST/STE her bekannten Standardauflösungen findet auch ein (quasi) True-Color-Modus mit 32768 Farben Verwendung; hier müssen 15 Bit-planes (ein Bit wird als Overlay für Genlock-Anwendungen benutzt) verwaltet werden, was einen enormen Datendurchsatz bedeutet.
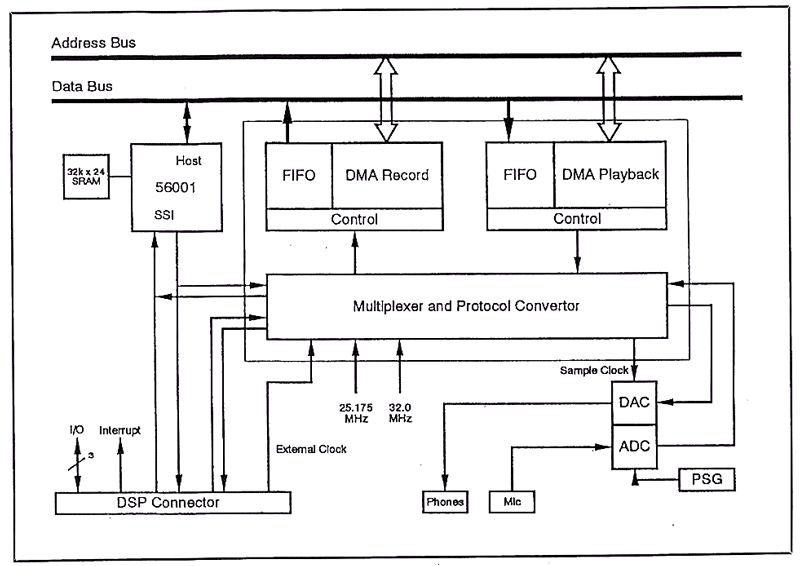
Bild 1: Über eine Verbindungsmatrix lassen sich alle wichtigen Hardware-Komponenten im Falcon beliebig verknüpfen.
Programmierbarer Video-Chip
Der Video-Chip, der im Falcon 030 seinen Dienst tut, ist ein von Grund auf neu entwickelter Custom-Chip, der frei programmierbar gestaltet wurde. Dadurch lassen sich über die Standardauflösungen hinaus auch Overscan-Modi verwirklichen, die jeden angeschlossenen Monitor bis zu dessen Leistungsgrenzen ausnutzen können. ATARI nannte hierzu Auflösungen bis 768x576 Pixel (im Interlace-Modus). Durch diese Flexibilität lassen sich verschiedenste Monitortypen am Falcon verwenden. Vom Fernseher (ein HF-Ausgang ist serienmäßig) über RGB-Monitore (SC 1224, SC 1435, SCART-Fernseher usw.) bis hin zu qualitativ hochwertigen VGA- und Multiscan-Monitoren reicht die Palette der anschließbaren Bildschirme. Selbst der gute alte monochrome Monitor SM-124 verrichtet weiterhin seinen Dienst an ATARIs jüngster Entwicklung. Damit stehen dem Benutzer auch weiterhin alle bekannten Schwarzweißanwendungen zur Verfügung. Zudem kann auch in Monochrom der Overscan-Modus genutzt werden. Es ist natürlich klar, daß bei solchen Möglichkeiten auch professionelle Videoanwendungen wie Genlock usw. ohne zusätzlichen Aufwand zu realisieren sind. In allen Grafikmodi wird Genlock-Synchronisation unterstützt. Daneben hat ATARI aus Kompatibilitätsgründen am horizontalen Hardwarescrolling der STE-Computer festgehalten.
Profi-Sound
Die Entwickler des Falcon 030 haben sich auch bei den Sound-Fähigkeiten Besonderes überlegt. Zum ersten Mal befindet sich ein 16-Bit-Stereo-D/A- und A/D-Wandler serienmäßig in einem Computer. Dazu wurde ein sogenannter „CODEC“ (COdierer/DECodierer) eingesetzt, der die Wandlung in beiden Richtungen durchführt. Mit diesen Eigenschaften ist es möglich, den Falcon 030 direkt in eine digitale Stereo-Bandmaschine von CD-Qualität (16 Bit, bis 50 KHz-Sampling-Rate) zu verwandeln. Ein- und Ausgänge für die Audiosignale (Mikrofon/Kopfhörer) sind an der Rückseite in Form von Stereo-Miniklinkenbuchsen herausgeführt. Dadurch läßt sich der Computer wie ein Tonbandgerät in die heimische Stereoanlage integrieren. Die Fähigkeit, gesamplete Sound-Daten direkt auf der Festplatte abzulegen (direct to harddisk-sampling) sorgt dafür, daß die Aufnahmekapazität nur durch die Größe der Festplatte begrenzt ist.
Daneben ist natürlich auch in diesem Bereich auf Kompatibilität zu den Vorgängermodellen Wert gelegt worden. Sowohl der 8-Bit-DMA-Sound als auch der gute alte 3-Kanal-Yamaha-Sound-Chip sind im neuen Falcon 030 wiederzufinden. Letzterer kann sogar als digitaler Wellenformlieferant für den DSP dienen.
Um auch bei Monitoren ohne Lautsprecher (bei vielen VGA- und Multiscan-Geräten üblich) nicht gänzlich auf Sound verzichten zu müssen, hat der Falcon 030 (wie auch schon der TT) einen im Gehäuse untergebrachten Lautsprecher bekommen.
Bild 2: Das Innenleben des Prototypen-Falcon 030 - deutlich erkennt man die 2.5"-AT-Bus-Festplatte.
Das Wunderding - der DSP
Viel wurde schon über dieses Wunderding der Technik spekuliert und geschrieben. Nun ist es amtlich: im Falcon 030 kommt ein digitaler Signalprozessor (DSP) vom Typ Motorola DSP-56001 zum Einsatz. Dies allein ist schon eine Sensation, da dieser Chip üblicherweise nur bei Spezialanwendungen der Datenfernkommunikation oder in der Audiotechnik Anwendung findet. Daß ein DSP aber durchaus seine Daseinsberechtigung in einem Homecomputer haben kann, wird sich zeigen, wenn Sie sich einmal die folgenden Anwendungsmöglichkeiten vor Augen führen.
- Vorstellbar wäre ein Voice-Mail-System, bei dem (ähnlich einer Mailbox) Nachrichten ausgetauscht werden können, die als Sprache und nicht als Text gespeichert werden.
- Natürlich kann man sich damit auch einen Anrufbeantworter (sogar femsteuerbar) verwirklichen.
- Sprachsynthese sowie Sprachanalyse (Spracherkennung)
- Durch die enorme Geschwindigkeit des DSP, die auch bei der Grafikberechnung (Stichwort: 3D-Vektorgrafik) benutzt werden kann, sind Virtual-Reality-Systeme, die eine künstliche Realität in Echtzeit aufbauen können, denkbar.
- Bild- und Sound-Datenkompression in einem Bruchteil der Zeit, die die momentanen Computer dafür benötigen
- Beeinflussung bzw. Modifikation eingespeister Audio-Signale in Echtzeit, Audio-Effektgeräte wie Echo, Hall, Distortion, Harmonizing etc. lassen sich ohne zusätzliche Hardware erstellen.
- Digitales Mehrspurtonbandgerät. Damit lassen sich nicht nur MIDI-, sondern alle Tonsignale (also auch Sprache, Gesang usw.) wie im Tonstudio bearbeiten und schneiden.
- High-Speed-FAX-Modem ...
... die Liste läßt sich beliebig fortsetzen, der Phantasie sind dabei kaum Grenzen gesetzt. Der Signalprozessor wird mit satten 32 MHz getaktet und hat 32 KB-Worte (ein Wort besteht beim DSP aus drei Bytes, also insgesamt 96 KB) eigenes statisches RAM mit 25 ns Zugriffszeit (0-Wait States). Damit erreicht der DSP eine Rechenleistung von 16 MIPS (Millionen Instruktionen pro Sekunde). Eingebunden ist der Prozessor in eine Verbindungsmatrix (Bild 1) aus DSP, DMA und dem Audio-Subsystem (AD/DA-Wandlung) CODEC. Durch diese Matrix lassen sich beliebige Verbindungen zwischen allen Komponenten herstellen. Es läßt sich z.B. über den 16-Bit-Stereo-AD-Wandler ein Audiosignal einspeisen und auf den DSP geben, welcher es in Echtzeit modifiziert (z.B. in der Tonhöhe ändert oder einen Effekt wie Echo oder Hall hinzufügt). Vom DSP können die Daten direkt über den DMA-Zugfiff auf die Festplatte oder über den 16-Bit-DA-Wandler wieder auf den Audio-Ausgang gelegt werden. Dies alles läßt sich dank der extremen Geschwindigkeit des Systems in Echtzeit, also verzögerungsfrei, ausführen.
Bei diesem Hochgeschwindigkeitsdatenaustausch muß natürlich auch die Datensicherheit gewährleistet sein. Dazu existieren verschiedene Hardware-Handshake-Mechanismen, die Fehler in der Übertragung von einer Komponente zur anderen wirkungsvoll verhindern.
8-Kanal-CD-Sound
Man merkt deutlich, daß ATARI bei der Entwicklung des Falcon 030 besonderen Wert auf das Sound-Subsystem gelegt hat. Nicht nur für den DSP wurde extra eine 26polige Schnittstelle herausgeführt. Dort liegen neben den DSP-Steuersignalen auch jeweils acht digitale Ein- und Ausgänge in einer Auflösung von 16 Bit für das Audio-Subsystem an. Zwar kann man hier nicht direkt analoge Singale einspeisen, aber der dafür notwendige zusätzliche Hardware-Aufwand hält sich in Grenzen, da die seriellen Kanäle dem Industriestandard entsprechen. Im Klartext heißt dies, daß mit entsprechenden ADU-, DAU-Baugruppen eine 2-mal-8-kanalige digitale Aufnahmemaschine zu verwirklichen ist. 2 mal 8 Kanäle deswegen, weil die Audio-Subgruppe in der Lage ist, auf 8 Kanälen aufzunehmen und gleichzeitig auf weiteren 8 wiederzugeben. Damit wäre der Falcon, bestückt mit einer hochwertigen DAU-, ADU-Einheit und natürlich einer entsprechenden Festplatte in professionellen Tonstudios (und natürlich auch zu Hause im Heimstudio) als digitale Achtspurtonbandmaschine einsetzbar.
Interne Harddisk
Thema Massenspeicher: ATARI gibt an, daß der Falcon 030 optional mit einer internen 65-Megabyte-2.5"-Festplatte verkauft wird. Dazu ist ein IDE-BUS (auch AT-Bus genannt) vorhanden, an den Standard-AT-Bus-Festplatten angeschlossen werden können. Nach außen wurde ein Standard-SCSI-II-Bus gelegt, der den Anschluß weiterer Festplatten oder anderer SCSI-Geräte (z.B. Laserdrucker/Scanner usw.) ermöglicht. Der vom ST bekannte DMA-Port (ACSI) wurde nicht mehr implementiert. Damit fällt leider ein Stück Hardware-Kompatibilität zum ST weg. Die Megafile-Festplatten lassen sich nicht direkt am Falcon 030 verwenden. Man kann allerdings davon ausgehen, daß es mit Sicherheit Drittanbieter geben wird, die den Anschluß von ACSI-Platten über einen Host-Adapter am SCSI-II-Port ermöglichen.
Intern existiert natürlich auch ein Diskettenlaufwerk. Der Falcon 030 ist serienmäßig mit einem 1,44-MB-HD-Laufwerk ausgestattet, was die Vermutung nahelegt, daß in ihm der AJAX-Chip (ATARI-Nach-bau des Floppycontrollers WD-1772 von Western-Digital) seine Arbeit verrichtet. Dieser Chip findet auch schon im TT Verwendung und ist bereits auf ED-Betrieb (also 2.88 MB) vorbereitet. Erst beim zweiten Blick auf die Schnittstellen bemerken wir, daß ein herausgeführter Floppy-Port gänzlich fehlt. Ein zweites Diskettenlaufwerk läßt sich also am Falcon 030 nicht betreiben. Wenn man allerdings davon ausgeht, daß ein Diskettenlaufwerk mittlerweile fast nur noch zum Kopieren der Programme auf die Festplatte benutzt wird, fällt dieser Umstand nicht weiter ins Gewicht.
Das Innenleben
Auf der Pressekonferenz wurde noch ein Prototyp des Falcon 030 gezeigt. Dennoch erlaubte man uns, einen Blick in das Innere des Gerätes zu werfen (Bild 2). Interessant ist der interne Erweiterungs-Port, der aus zwei diagonal versetzt angeordneten Pfostenfeldleisten besteht. An diesem Port liegen alle wichtigen Hardware-Signale des Rechners an. Erweiterungen wie MS-DOS-Emulatoren brauchen also nicht, wie bislang bei den STs, in abenteuerlichen Konstruktionen auf den Prozessor gelötet zu werden. Deutlich erkennt man das 2,5"-Festplattenlaufwerk. Natürlich entsteht bei soviel Rechen-Power ein gewisser Grad an Abwärme; Besitzer von 1040ST/STEs können ein Lied davon singen. Schließlich befindet sich wie beim 1040ST/STE das Netzteil gleich mit im Gehäuse. Um Hitzeschäden vorzubeugen, hat man daher einen sehr flachen Lüfter direkt auf der Platine angebracht. Dieser sorgt für ausreichende Kühlung.
Die Software-Unterstützung
Das schon zur CeBIT ’92 vorgestellte MultiTOS wird erstmalig im Falcon 030 serienmäßig zum Einsatz kommen. Dieses TOS ist weitestgehend kompatibel zu früheren Versionen, ermöglicht jedoch Multitasking. Wir haben schon an anderer Stelle ausführlich darüber berichtet. Eine echte Neuheit ist allerdings, daß die speziellen Hardware-Fähigkeiten des Falcon 030 auch vom TOS unterstützt werden. Es wird Betriebssystemfunktionen geben, mit deren Hilfe man DSP-Programme installieren, ausführen bzw. deren Vorhandensein abfragen kann. Somit lassen sich beispielsweise bestimmte DSP-Anwendungen quasi als Unterroutinen aus jedem Programm heraus aufrufen. Motorola bietet schon eine ganze Reihe von DSP-Anwendungen als Public-Domain an, so daß hier auf ein erhebliches Potential zurückgegriffen werden kann. Auch wird es Funktionen zur Programmierung des neuen Video-Chips geben. Der Entwickler braucht sich somit nicht mehr mit speziellen Hardware-Eigenschaften dieses Chips auseinanderzusetzen.
Bild 3: Das Blockschaltbild des Sound-Subsystems
Das Design
Zur CeBIT ’92 hieß es noch, daß der Falcon 030, um sich optisch deutlich vom 1040ST/STE abzuheben, ein dunkelgraues Gehäuse bekommen würde. Von diesem Standpunkt ist ATARI mittlerweile abgewichen. Damit auch die alte ST-Peripherie (z.B. Monitor) optisch noch zum Falcon 030 paßt, hat man sich auf einen Kompromiß geeinigt. Das Gehäuse bleibt im gewohnten hellen ATARI-grau, lediglich die Tastenkappen werden in Dunkelgrau mit weißer Aufschrift gehalten sein.
Falcon 030 - ein neuer Stern am Computer-Himmel?
Selbstverständlich können wir hier nicht alle Möglichkeiten dieses neuen ATARI-Computers erläutern. Sie sind so komplex, daß es selbst uns schwerfällt, sie zu überschauen. Vieles wird sich erst im Laufe der Zeit ergeben, und die Anwenderschaft wird sicherlich mit der einen oder anderen Sensation aus den Reihen der Programmierer und Freaks überrascht werden. Eines ist jedoch gewiß: noch me wurde ein so leistungsfähiges Hardware-Konzept in einem Homecomputer für einen Endpreis von unter 2000,- DM verwirklicht. Bei entsprechender Unterstützung der Software-Häuser stehen die Chancen für eine erfolgreiche Markteinführung des Falcon 030 mehr als gut. Der zur Zeit etwas müde Markt braucht wieder einen Computer, der Begeisterung auslösen kann. Wir glauben: mit dem Falcon 030 hat ATARI eine solche Maschine entwickelt. Auch wenn die Freaks und Profianwender zunächst vor einem Consolen-Computer zurückschrecken werden; der Falcon 030 ist der Beginn einer ganzen Reihe von neuen ATARI-Computern. Ein Gerät mit abgesetzter Tastatur und Erweiterungs-Slots wird, laut ATARI, in Kürze folgen. Bleibt nur zu hoffen, daß man aus den Fehlern der Vergangenheit gelernt hat und der Erfolg nicht wieder an Lieferschwierigkeiten erstickt.
CM
| |
|
| Prozessor: |
Motorola 68030 16 MHz |
| Coprozessor: |
Motorola 68882 16 MHz (optional) |
| RAM: |
4 MB (bis 14 MB intern aufrüstbar) |
| ROM: |
512KB |
| Floppy: |
1.44MB 3.5" HD-Laufwerk intern |
| Festplatte: |
65 MB 2 5“ IDE-Bus intern (optional) |
| DSP: |
Motorola DSP 56001 32 MHz plus 32 Kworte (=96KB) statisches RAM |
| Grafik: |
siehe Tabelle 2 |
| Sound: |
16 Bit Stereo Digital-Sound 8 Bit Stereo DMA-Sound (STE/TT kompatibel) 3 Kanal Yamaha-Soundchip (ST-kompatibel) 2 mal 8 16 Bit digitale Sound-Kanäle |
| TOS: |
MultiTOS |
| Schnittstellen: |
|
| extern |
|
| 1 x seriell |
(9pol Sub-D male) |
| 1 x parallel |
(25pol Sub-D female) |
| 1 x SCSI II |
(50pol) |
| 1 x Mikrofon |
(Stereo-Miniklinke) |
| 1 x Kopfhörer |
(Stereo-Miniklinke) |
| 1 x Monitor/Video/Genlock |
(19pol Sub-D male) |
| 1 x DSP/Digital Audio Port |
(26pol Sub-D female) |
| 1 x LAN-Port |
(9pol Mim-DIN) |
| 1 x TV-Tuner (HF) |
(RCA female) |
| 1 x MIDI in |
(5pol DIN female) |
| 1 x MIDI out |
(5pol DIN female) |
| 1 x ROM-Port |
(40pol ATARI) |
| 2 x erweitere Joysticks |
(15pol Sub-D male) |
| 2 x Maus/Joystick |
(9pol Sub-D male) |
| intern |
|
| DRAM-Expansion-Bus |
30 Pin + 50Pin Pfostenfeld) |
| Expansion-Bus |
(30Pin + 50Pin Pfostenfeld) |
| IDE-Bus |
|
Tabelle 1: Kurzübersicht Falcon 030
| Modus |
Auflösung |
Bitplanes |
Farben |
Palette |
| ST-Low |
320x200 |
4 |
16 |
4096 |
| ST-Med |
640x200 |
2 |
4 |
4096 |
| ST-High |
640x400 |
1 |
2 |
4096(duochrom) |
| True-Color |
320x200 |
15 |
32768 |
keine (1 Bit für Overlay-Modus) |
| Falcon |
640x480 |
8 |
256 |
262144 |
| VGA/Video |
x: 320 oder 640 y: 200 oder 400 Overscan möglich |
1,4,8 |
2,16,256 |
262144 |
Tabelle 2: Grafik-Auflösungen des Falcon 030